焊接Y型過濾器常工作在高溫高壓的工況下,因此Y型過濾器焊接后要對各焊縫進行嚴格的無損檢測,我廠生產的Y型過濾器,要求100%超聲檢測合格,檢測工作人員根據Y型過濾器的結構特點,結合其施焊工藝制訂了切實可行的超聲檢測步驟,實踐證明,此種檢測方法具有可靠性。

圖1 過濾器幾何尺寸
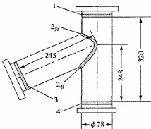
由圖1可了解到,如果在Y型過濾器焊接全部完成后進行超聲波檢測,由于掃描區域的限制,難以實現焊縫的100%檢測,甚至使超聲波檢測根本無法進行。Y型過濾器在焊接過程中是分步進行的,如圖2所示,步驟如下:
首先,截取320mm長管(Φ78),在其上下兩端分別焊接法蘭。此過程形成焊縫1、4。
截取247mm長進液管(Φ78),在其一端焊接法蘭。此過程形成焊縫3。
如圖2(a),將進液管未焊法蘭一端管壁沿虛線割去。如圖2(b)所示,將出液管虛線部分挖去。將進液管與出液管(排污管)焊接形成管座角焊縫2。檢測時分為根部與尖部兩部分。至此,Y型過濾器主體焊接完畢。

(a) 進水管 (b)出水管(排污管)
圖2 焊接步驟及檢測示意圖
地 址:上海市金山區興塔工業區
咨詢電話:021-5736 2601
手機號碼:138 1635 7694
電子郵箱:hanyuev@163.com
網 址:http://m.sdtagree.com