襯氟放料閥產品簡介
襯氟放料閥是一種在金屬閥門與流體接觸的各個部位,其中包括閥體內腔、閥瓣和閥桿光桿部分等均包襯了一層氟塑料,使其與腐蝕性介質隔斷開來,從而讓它既有鋼制放料閥的機械強度,又有氟塑料的耐腐性的襯四氟放料閥。該閥襯里層由于分子結構中引入具有負電性的氟原子,因而擁有較高的化學穩定性和耐高低溫性能,除了熔融堿金屬、ClF?及元素氟外,它能抵抗無論何種濃度的酸、堿、鹽、氧化劑和其它強腐蝕性介質的消損和破壞,而且它可以產生彈性變形,因此有助于密封,泄漏等級可以做到IV級。本產品有手動、氣動、氣動帶手動、電動等傳動方式,端部采用法蘭連接,適用于無硬質固體顆粒的酸、堿、鹽等腐蝕性的物料儲槽、反應釜、儲罐和其他容器之放料及取樣。
襯氟放料閥部件材料
序號 | 部件名稱 | 材料名稱 | ||||
1 | 閥 體 | WCB | CF8 | CF3 | CF8M | CF3M |
2 | 閥 蓋 | WCB | CF8 | CF3 | CF8M | CF3M |
3 | 閥 瓣 | WCB | CF8 | CF3 | CF8M | CF3M |
4 | 閥 桿 | WCB | CF8 | CF3 | CF8M | CF3M |
5 | 閥 座 | F46/FEP聚全氟乙丙烯、F4/PTFE聚四氟乙烯、PFA可溶性聚四氟乙烯 | ||||
6 | 襯 里 層 | F46/FEP聚全氟乙丙烯、F4/PTFE聚四氟乙烯、PFA可溶性聚四氟乙烯 | ||||
7 | 填 料 | PTFE | PTFE | PTFE | PTFE | PTFE |
8 | 填料壓蓋 | WCB | CF8 | CF3 | CF8M | CF3M |
9 | 螺 栓 | 35 | 304 | 304 | 316 | 316 |
10 | 螺 母 | 45 | 304 | 304 | 316 | 316 |
襯氟放料閥技術規范
公稱壓力PN(MPa) | 0.6 | 1.0 | 1.6 | 2.5 | 2.0 |
殼體強度試驗壓力(MPa) | 0.9 | 1.5 | 2.4 | 3.75 | 3.0 |
高壓液密封試驗壓力(MPa) | 0.66 | 1.1 | 1.76 | 2.75 | 2.2 |
低壓氣密封試驗壓力(MPa) | 0.6 | 0.6 | 0.6 | 0.6 | 0.6 |
設計制造 | HG/T 3704-2003 氟塑料襯里閥門通用技術條件 | ||||
法蘭標準 | JB/T 79、GB/T 9113、HG/T 20592、HG/T 20615、SH/T 3406、ASME B16.5 | ||||
檢驗試驗 | HG/T 3704-2003 氟塑料襯里閥門通用技術條件 | ||||
適用溫度 | -29℃ ~ 150℃ | ||||
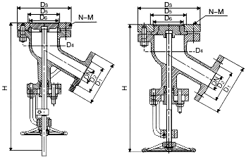
襯氟放料閥外型尺寸
公稱壓力 PN(MPa) | 公稱通徑 DN(mm) | 上展式尺寸(mm) | 下展式尺寸(mm) | ||||||||||
D1 | D2 | D3 | D4 | D5 | D6 | D1 | D2 | D3 | D4 | D5 | D6 | ||
1.6 | 25 | 115 | 85 | 115 | 85 | — | — | 115 | 85 | 135 | 100 | 70 | 40 |
32 | 135 | 100 | 135 | 100 | 70 | 40 | 135 | 100 | 145 | 110 | 75 | 55 | |
40 | 145 | 110 | 145 | 110 | 70 | 50 | 145 | 110 | 160 | 125 | 80 | 60 | |
50 | 165 | 125 | 160 | 125 | 80 | 60 | 160 | 125 | 180 | 145 | 100 | 80 | |
65 | 180 | 145 | 180 | 145 | 95 | 75 | 180 | 145 | 195 | 160 | 135 | 110 | |
80 | 195 | 160 | 195 | 160 | 110 | 90 | 195 | 160 | 225 | 190 | 160 | 135 | |
100 | 215 | 180 | 215 | 180 | 130 | 110 | 215 | 180 | 260 | 225 | 200 | 175 | |
125 | 245 | 210 | 245 | 210 | 160 | 130 | 245 | 210 | 280 | 245 | 200 | 175 | |
150 | 280 | 240 | 280 | 240 | 190 | 150 | 280 | 240 | 335 | 295 | 240 | 210 | |
200 | 335 | 295 | 335 | 295 | 240 | 200 | 335 | 295 | 405 | 355 | 285 | 240 | |
襯氟放料閥結構圖

如果你需訂購我廠放料閥產品,咨詢時煩請說明類型,公稱通徑,公稱壓力,閥體和閥內組件材料,使用溫度,結構形式,本產品有上展式、下展式和柱塞式三種,傳動方式可選用手動、氣動、電動等。
網站首頁