注氣微排閥產品概述
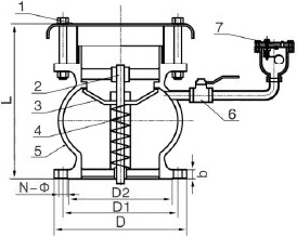
注氣微排閥主要由負壓吸氣閥和微量排氣閥兩部分組合而成,負壓吸氣閥包括吸氣閥體、閥蓋、高速吸氣孔口和帶彈簧的閥瓣,其閥體閥口內壁設有閥座,該閥座與主閥瓣通過密封圈密封,閥瓣通過彈簧上下移動,使吸氣閥封閉或開啟高速吸氣孔口使之保持關閉或通氣狀態。而微量排氣閥則通過連接管連接在吸氣閥一側的閥口前,包括微排閥體、微量排氣孔口、浮球以及杠桿組件,所述微量排氣孔口內壁靠下設有微排閥座,杠桿組件另一端連接浮球,微排閥座下方設置微排閥瓣,浮球的下降或上升帶動杠桿組件帶動微排閥瓣來打開或關閉微量排氣孔口。
注氣微排閥在突然停泵或關閉閥門或人為排水時,管內某些位置處的水柱可能產生分離,管內出現真空(負壓),在負壓值達到-1kPa~3kPa時,外界壓強大于內部壓強,吸氣閥內部彈簧被外界空氣壓強和閥瓣自重擠壓,彈簧上的閥瓣下移,吸氣口打開,空氣通過負壓吸氣閥的高速吸氣孔口從四周快速進入,使管內負壓降到很低,以保證管件和密封接口的安全性。
當被水泵驅動或者因重力回流時,所述位置處管內的水柱開始彌合,當系統壓力升高至接近大氣壓力但仍處于微負壓狀態時,彈簧頂托力剛好克服閥瓣自重和內外壓差之合力而關閉孔口,停止吸氣,也不讓排氣。因為沒有另外的高速排氣孔口,管內的氣體不能高速排出,而只能經由微量排氣閥緩慢地排出,水柱之間的大部分氣體被臨時截留在管內,形成臨時彈性氣囊,水柱彌合時被彈性氣囊緩沖,大幅削減了彌合水柱的撞擊能量,有效抑制了彌合水錘升壓,保護管路安全。
當管路水流正常流動時,水流所釋放出來的微量氣體通過吸氣閥進入微量排氣閥的空腔,空腔內的氣體逐漸增多,導致閥內水位下降,當下降到浮球以下位置時,浮球下落,帶動杠桿組件打開微量排氣孔口,間歇性地排除聚集在閥體內的空氣。
注氣微排閥部件材料
| 序號 | 部件名稱 | 材料名稱 | ||||
| 1 | 閥 體 | QT450 | WCB | CF8 | CF8M | CF3M |
| 2 | 閥 蓋 | QT450 | WCB | CF8 | CF8M | CF3M |
| 3 | 閥 瓣 | 304 | 304 | 304 | 316 | 316L |
| 4 | 閥 座 | 304 | 304 | 304 | 316 | 316L |
| 5 | 密 封 圈 | NBR/EPDM | NBR/EPDM | NBR/EPDM | NBR/EPDM | NBR/EPDM |
| 6 | 防 護 網 | 304 | 304 | 304 | 316 | 316L |
| 7 | 彈 簧 | 304 | 304 | 304 | 316 | 316L |
| 8 | 檢 修 閥 | CF8 | CF8 | CF8 | CF8M | CF3M |
| 9 | 微 排 閥 | QT450 | WCB | CF8 | CF8M | CF3M |
注氣微排閥性能規范
| 公稱壓力PN(MPa) | 0.6 | 1.0 | 1.6 | 2.5 | 2.0 |
| 殼體強度試驗壓力(MPa) | 0.9 | 1.5 | 2.4 | 3.75 | 3.0 |
| 高壓水密封試驗壓力(MPa) | 0.66 | 1.1 | 1.76 | 2.75 | 2.2 |
| 低壓水密封試驗壓力(MPa) | 0.02 | 0.02 | 0.02 | 0.02 | 0.02 |
| 法蘭標準 | GB/T 17241.6-2008、JB/T 79-2015、GB/T 9113-2010、ASME B16.5-2017等 | ||||
| 檢驗試驗 | GB/T 13927-2008、API 598-2016 | ||||
| 適用介質 | 清水、原水或物理化學性質類似于水的其他液體 | ||||
| 工作溫度 | 0℃ ~ 80℃ | ||||
注氣微排閥主要尺寸
| 公稱壓力 PN | 公稱尺寸 DN | 外形及連接尺寸/mm | |||||
| L | D | D1 | D2 | b-f | N-Φ | ||
| 16 | 50 | 180 | 160 | 125 | 100 | 16-3 | 4-18 |
| 65 | 190 | 180 | 145 | 120 | 18-3 | 4-18 | |
| 80 | 210 | 195 | 160 | 135 | 20-3 | 8-18 | |
| 100 | 225 | 215 | 180 | 155 | 20-3 | 8-18 | |
| 125 | 250 | 245 | 210 | 185 | 22-3 | 8-18 | |
| 150 | 270 | 280 | 240 | 210 | 24-3 | 8-23 | |
| 200 | 310 | 335 | 295 | 265 | 26-3 | 12-23 | |
| 250 | 370 | 405 | 355 | 320 | 30-3 | 12-25 | |
| 300 | 380 | 460 | 410 | 375 | 30-4 | 12-25 | |
| 表中只列出了部分JB/T 79-2015標準PN16法蘭連接外形尺寸。如需其他規格尺寸,請咨詢汗越閥門! | |||||||
注氣微排閥結構圖

如果你需訂購我廠排氣閥產品,咨詢時煩請告知公稱通徑、公稱壓力、閥體及內件材料、法蘭標準及法蘭密封面形式等,本產品有清水型和污水型兩種,微量排氣孔口范圍允許在1.0mm至25mm之間任意選擇,如有特殊要求,咨詢時請詳細說明。
網站首頁